Sony разрабатывает ИИ, который обучит NPC копировать стиль игрока
Компания работает над технологией, которая может кардинально изменить поведение неигровых персонажей в видеоиграх. Согласно недавно раскрытому патенту, Sony разрабатывает нейросетевой алгоритм, способный анализировать стиль игры пользователей и применять его к ботам.
Система отслеживает поведение геймеров в мультиплеерных режимах, изучая их движения, тактику и игровые привычки (при согласии пользователя). Затем на основе этих данных создаются NPC-напарники, чьи действия максимально приближены к реальным игрокам.
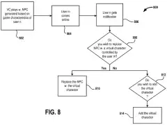
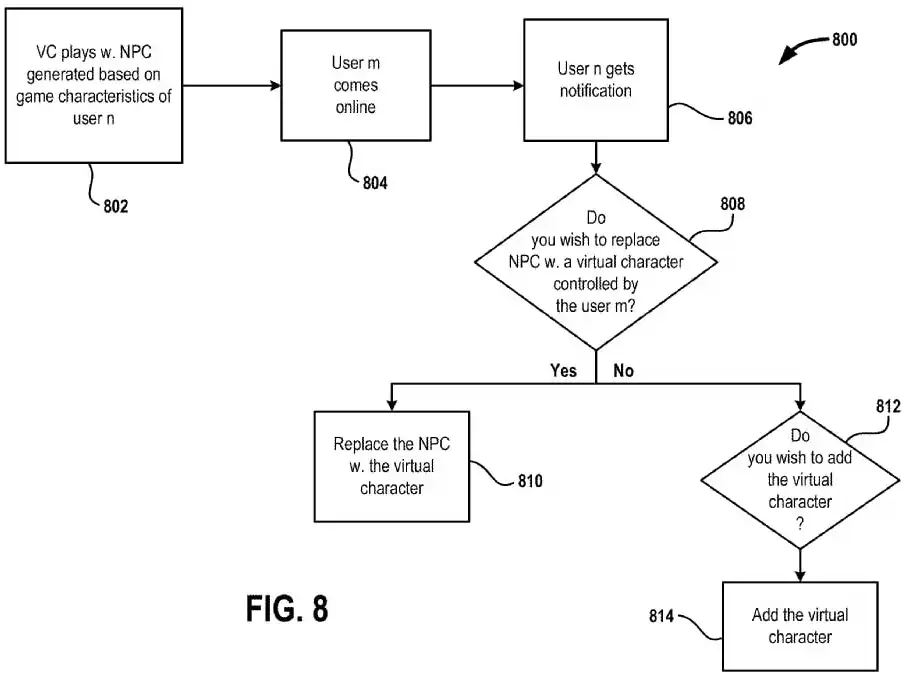
Эта технология предназначена для одиночных геймеров, которые не хотят зависеть от случайных союзников в онлайне. Однако Sony также предлагает гибридный вариант: если игрок начнёт матч с ИИ-напарником, но позже к нему захочет присоединиться друг, система предоставит выбор — заменить бота на реального человека или продолжить игру в прежнем составе.
Когда технология будет реализована в играх, пока неизвестно.
Система отслеживает поведение геймеров в мультиплеерных режимах, изучая их движения, тактику и игровые привычки (при согласии пользователя). Затем на основе этих данных создаются NPC-напарники, чьи действия максимально приближены к реальным игрокам.
Эта технология предназначена для одиночных геймеров, которые не хотят зависеть от случайных союзников в онлайне. Однако Sony также предлагает гибридный вариант: если игрок начнёт матч с ИИ-напарником, но позже к нему захочет присоединиться друг, система предоставит выбор — заменить бота на реального человека или продолжить игру в прежнем составе.
Когда технология будет реализована в играх, пока неизвестно.




Комментариев пока нет :(